Как прозвонить диодный мост генератора мультиметром

Как прозвонить диодный мост генератораНормальная зарядка аккумулятора в любом генераторе обуславливается функционированием диодного моста. В случае поломки элемент отправляют в сервисный центр для ремонта. Но в большинстве случаев знаний о том, как прозвонить диодный мост генератора, достаточно для устранения возникших неполадок. Мастеру нужно уметь разбираться в особенностях работы элемента и определять причину неисправности.

Содержание
  • Принцип работы моста
  • Причины поломок
  • Проверка диодов

Принцип работы моста

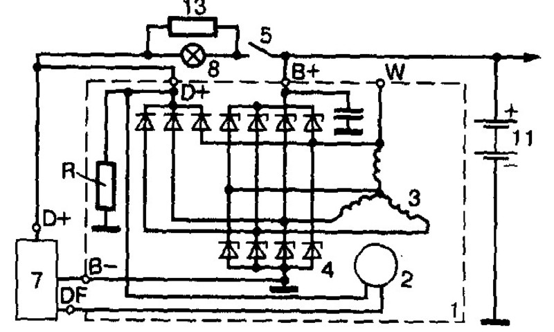
Диодный мост в конструкции генератора выступает в качестве выпрямителя электричества. Ток преобразуется с помощью четырёх или шести диодов, объединённых в одну цепь. Именно её называют мостом.

Диодный мост как работает

У него простое функционирование — он проводит электричество, выработанное генератором, к аккумулятору и не даёт ему пройти в обратном направлении. Сначала вырабатывается определённое сопротивление, затем оно стремится к бесконечности.

Неисправный элемент приводит к тому, что электронные детали в автомобиле перестают работать.

Аккумулятор даст сбой, а поскольку от него питается стартер, машина просто не заведётся. Перед ремонтом нужно выявить главную причину поломки, а затем найти методы её устранения.

Причины поломок

Если аккумулятор перестал работать, то нужно проверить диодный мост генератора мультиметром. Поломки могут происходить по нескольким причинам:

  • влага внутри аккумулятора;
  • переполюсовка клемм;
  • поломка электронных схем, которую сложно устранить самостоятельно.

Диодный мост генератора

Наиболее частая неполадка — попадание и накапливание влаги, которая просачивается под корпус во время мытья автомобиля. Также нужно избегать езды по глубоким лужам. Клеммы могут переполюсовываться при неправильном подключении зарядного устройства или прикуривании. Поэтому нужно прозвонить обмотку генератора, снять повреждённые элементы и установить на их место новые.

У аккумулятора прямая связь с диодным мостом, и его необходимо тщательно прозвонить. Поломки могут привести к некоторым последствиям: электричество может совсем не поступать к генератору или последний получает ток с чрезмерно высокими частотами, что вызывает кипение электролита.

Проблему нужно решать максимально быстро. Если не устранить поломку, то аккумулятор испортится безвозвратно, в итоге придётся покупать новое оборудование. Можно проверить обмотку генератора двумя способами — с помощью лампочки или мультиметра.

Проверка диодов

При проверке лампой нужно извлечь мост из генератора. Собранным элементом нужно прикоснуться к одной из клемм аккумулятора. Контакт нужно соблюдать, он должен быть крепким и прочным. Плюсовым полюсом лампочки дотрагиваются до этой же части аккумулятора. Затем прозванивают поочерёдно каждый контакт и переходят к проверке обмотки стартера.

Как проверить обмотку генератораНерабочий мост выявляется зажжённой лампочкой. Цепь необходимо подключать поэтапно через один диод. Так можно выявить неисправную деталь и заменить её на новую. Если нужно проверить мост на разрывы, то его минусовой полюс накидывают на плюсовую клемму аккумулятора. Лампу подключают к батарее, а свободный контакт присоединяют к диоду так, чтобы знаки совпадали. При исправности моста лампочка должна загореться. Если в цепи есть разрывы, то она не будет светиться вообще или несколько раз промигает.

Чтобы проверить интегралку генератора, мост также снимают и прозванивают каждый диод отдельно. Прибор устанавливают на режим «прозвон». Если такой функции у него нет, то достаточно выбрать показатель сопротивления в 1 кОм.

Это позволит устройству отреагировать на замыкание двух контактов. Мост делят на две части — силовые и вспомогательные диоды. Схема их проверки одинаковая. При прозвонке рабочего диода сопротивление в направлении аккумулятора подскочит до нескольких сотен Ом, а на обратном пути будет стремиться к бесконечному числу.

Диодный мост генератора схема

Щупы мультиметра подключают к контактам диода и замеряют показатели. Затем концы устройства меняют местами и проверяют значение сопротивления. Диод оказывается сгоревшим в том случае, если мультиметр показал разные значения. Процедуру повторяют для каждого диода. Нулевое значение появляется, если в цепи есть обрывы. С помощью мультиметра можно быстро выявить пробитый диод.

Лампу используют в случае отсутствия измерительного прибора, но у такого способа проверки есть несколько недостатков:

  • Как прозвонить обмотку генераторапри слабом токе лампа может мигать не из-за поломки;
  • работать можно только с извлечённым из генератора мостом;
  • лампочка не всегда может быть под руками;
  • при неосторожном обращении проверка приводит к замыканию.

Неисправный диод заменяют новым с помощью паяльника. Новый элемент можно приобрести в любом строительном магазине, а присоединить его нетрудно самостоятельно.

Моделей генератора множество, для некоторых из них сложно найти деталь, поэтому лучше её отремонтировать.

Ссылка на основную публикацию